Light Mine Rail

Overview

The Light Mining Rail series is designed for small-to-medium underground mine carts and auxiliary transport lines. Engineered for easy installation, low lifecycle cost and high compatibility, this light-weight mining rail (Mining rail / mine rail) is ideal for temporary lines, branch tracks, maintenance routes and short-haul ore handling. Standard mass sections available: 8, 9, 12, 15, 18, 22, 24, 30 kg/m — custom sizes and material options are available on request.

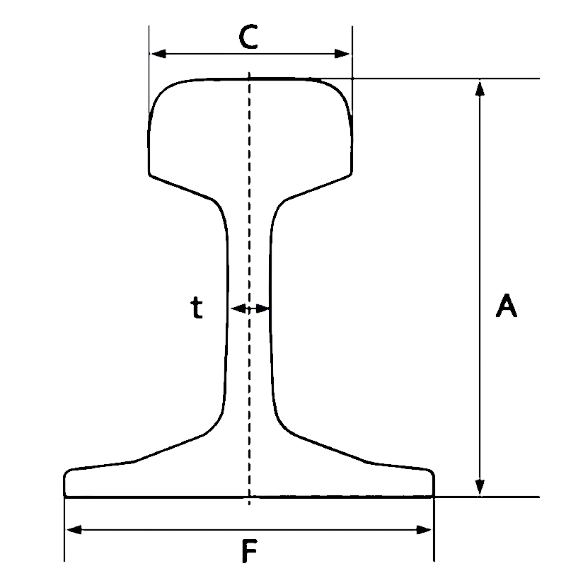
Technical Specifications & Weight

Typical applications

 

  • Auxiliary haulage lines and branch tracks in underground mines.

  • Short-distance ore shuttles and maintenance trolley routes.

  • Temporary construction tracks, ventilation and service corridors.

  • Warehouse transfer tracks and equipment handling lines.

45lb mine rail
35lb rails

Key Advantage

  • Optimized for light underground dutysection shapes balance structural capacity and reduced weight for small-to-medium mine cars and utility trolleys.

  • Fast installation & modularitystandardized lengths and compatible connectors enable quick laying, replacement and extensions.

  • Lower material & transport cost reduced kg/m lowers raw material and freight expenses compared with heavier rails, making it economical for wide auxiliary networks.

  • Improved maintainabilitymodular segments and commonly used fasteners allow swift on-site swaps, reducing downtime.

  • Flexible specification available in carbon steel, low-alloy or abrasion-resistant grades; multiple surface treatments (phosphating, shot-blast, galvanizing) are offered.

Installation & maintenance recommendations

  • Foundation: install on firm, level ballast or concrete sleepers to avoid uneven settlement and gauge drift.

  • Alignment: use laser alignment or mechanical gauges to control centerline deviation and track gauge within design tolerances.

  • Splicing & fasteners: use standard fishplates and torque-controlled bolting; inspect splices regularly for loosening.

  • Corrosion & wear protection: choose surface treatments (galvanizing, coating) or higher-wear alloys for humid or chemically aggressive mine environments.

  • Inspection schedule: set inspection intervals based on traffic and duty (recommended monthly/quarterly for light lines; increase frequency if exposed to wet or abrasive conditions).

60lb mine rail

FAQs

Q: What load range is Light Mining Rail suitable for?

A: Designed for small-to-medium mine cars and auxiliary transport.

A: Yes — compatibility depends on head height and connector type. We can supply transition pieces or an  assessment to ensure seamless integration.

A: Lead time depends on stock and customization; small quantities of standard sections are usually available quickly. Custom runs have longer lead times. Contact us with your requirements for a firm delivery estimate.

滚动至顶部